Rabattkod / Presentkort
Har du fått en kampanj eller rabattkod?
Dela produkt
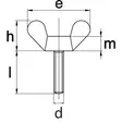
Vingskruv M12 x 30 mm




Skruv med vinge och högergängad metrisk M12-gänga. - gänglängd (l): 30 mm - huvudhöjd (h): 10 mm - gängstigning: 1,75 mm - enligt standarden DIN 316
36,00 kr(moms inkl.)
29,00 kr(moms exkl.)
- Produktkod: 5700038042311
- Finns i lagerVarorna skickas inom 1-2 vardagar
- Leveranskostnader från 107,00 kr
st
Skruv med vinge och högergängad metrisk M12-gänga. - gänglängd (l): 30 mm - huvudhöjd (h): 10 mm - gängstigning: 1,75 mm - enligt standarden DIN 316
Butik
Tillgänglighet
Adress
Kontaktinformation och öppettider
Recensera produkten
Leverans till upphämtningsplats
107,00 kr
Hemleverans
214,00 kr
